Scala a doppia curva GOULES 160x160 Abete
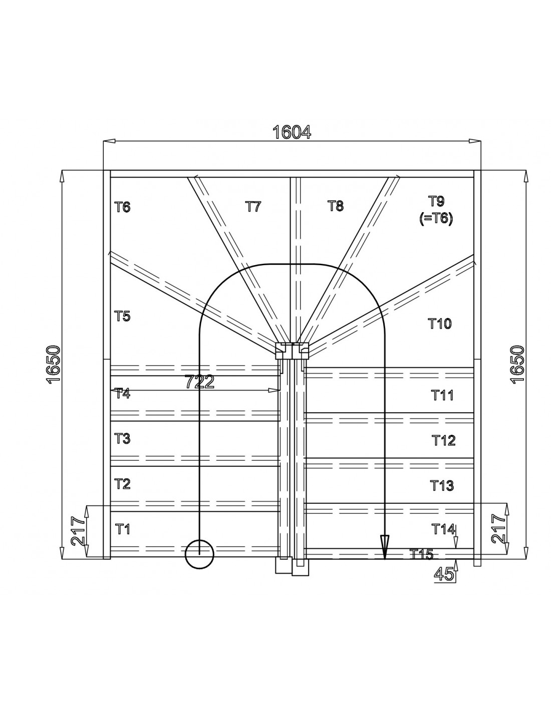
Scala doppio quarto girante in abete massiccio, altezza 285 cm. 14 gradini + naso di pianerottolo, larghezza 80 cm, alzata 19 cm, pedata 21 cm, vano scala 160x160 cm. Senza ringhiera. Ingombro 165x160,4x165 cm. Uso interno.
Scala Doppio Quarto Girante GOULES 160x160 - Abete, 285 cm, Senza Ringhiera
La scala GOULES 160x160 è una scala doppio quarto girante in abete massiccio, venduta senza ringhiera, progettata per un vano scala quadrato di 160x160 cm. Prevista per un'altezza piano-piano di 285 cm con 14 gradini + 1 naso di pianerottolo (15 alzate totali), offre una larghezza di 80 cm, un'alzata di 19 cm e una pedata di 21 cm. L'ingombro totale è di 165x160,4x165 cm (L x P x H).
Il GOULES 160x160 è la versione in abete economica del ROCLES 160x160 (faggio/rovere). Condivide le stesse dimensioni del ROCLES 160x160 - stesso vano scala, stesso ingombro, stessi gradini. La ringhiera è da ordinare separatamente. Disponibile con o senza alzate, in senso destro o sinistro.
Caratteristiche principali
| Caratteristica | Descrizione |
|---|---|
| Tipo | Doppio quarto girante, interno, kit, senza ringhiera |
| Essenza | Abete massiccio non trattato |
| Altezza piano-piano | 285 cm (ritagliabile) |
| Numero di gradini | 14 gradini + 1 naso di pianerottolo (15 alzate) |
| Alzata | 19 cm |
| Pedata | 21 cm |
| Larghezza | 80 cm |
| Sezione dei gradini | 220x30 mm |
| Dimensioni totali | 165x160,4x165 cm (L x P x H) |
| Vano scala consigliato | 160x160 cm |
| Alzate | Con o senza, a scelta |
| Senso | Destra o sinistra - non reversibile, da specificare all'ordine |
| Ringhiera | Non inclusa - non reversibile, da ordinare e installare durante il montaggio |
| Finitura | Abete grezzo - finitura obbligatoria prima dell'uso |
| Utilizzo | Solo interno |
Punti chiave
- ✓ Vano scala 160x160 cm : più piccolo delle DQT 180x180 - soluzione quando il vano scala disponibile è limitato
- ✓ Pedata 21 cm : superiore alla gamma Standard (19 cm) - miglior comfort di salita su una DQT
- ✓ Abete massiccio : soluzione economica per una DQT - finitura curata obbligatoria
- ✓ Venduto senza ringhiera : libertà di scelta della ringhiera - da ordinare separatamente
- ✓ Naso di pianerottolo incluso : finitura a filo con il piano superiore
- ✓ Ritagliabile : adattamento possibile ad altezze piano-piano inferiori a 285 cm
Consigli di installazione
Verificare che il vano scala sia quadrato di 160x160 cm minimo sulle dimensioni finite. L'ingombro totale di 165x160,4 cm supera leggermente il vano scala - i 5 cm supplementari in lunghezza e 0,4 cm in profondità corrispondono allo sbalzo naturale della struttura. Determinare il senso prima dell'ordine - definitivo. La ringhiera è da installare durante il montaggio se desiderata. L'abete è più facile da avvitare rispetto al faggio o al rovere - si raccomanda comunque la pre-foratura per evitare crepe.
Manutenzione e protezione
L'abete grezzo è sensibile alle macchie e all'umidità senza protezione. Applicare un vetrificatore a 2 mani prima del primo utilizzo. Su una DQT in abete, i gradini di svolta (bilanciati) sono più esposti - applicare una mano supplementare in questi punti. Rinnovo ogni 5-7 anni. Pulizia : panno umido, pH neutro.
Consiglio WoodUp
Il GOULES 160x160 è la soluzione DQT più economica della gamma per un vano scala di 160x160 cm. Rispetto al ROCLES 160x160 faggio/rovere, l'abete è meno durevole a lungo termine ma del tutto adatto per un uso familiare standard con una finitura curata. La differenza di prezzo tra abete e faggio su una DQT può essere significativa - se il budget è limitato ma si desidera una DQT, il GOULES 160x160 è la scelta giusta.
Da sapere prima dell'acquisto : questo modello è venduto senza ringhiera. La ringhiera deve essere ordinata separatamente e installata durante il montaggio. L'ingombro di 165x160,4 cm è leggermente superiore al vano scala di 160x160 cm - i 5 cm supplementari in larghezza e gli 0,4 cm in profondità corrispondono alla struttura della scala che sporge leggermente dal vano scala.
Domande frequenti
Qual è la differenza tra il GOULES 160x160 e il ROCLES 160x160?
Il GOULES 160x160 è in abete - meno costoso, finitura più accessibile. Il ROCLES 160x160 è in faggio o rovere lamellare incollato - più durevole ed estetico. Entrambi hanno esattamente le stesse dimensioni (vano scala 160x160 cm, ingombro 165x160,4 cm, 14 gradini + naso di pianerottolo, hm 19 cm, pedata 21 cm) e sono venduti senza ringhiera.
Si può ritagliare il GOULES 160x160 per un'altezza di 264 cm?
Sì. Per 264 cm, l'adattamento è possibile rimuovendo un gradino (hm circa 19 cm) e ritagliando leggermente i limonieri di 2 cm per aggiustare. Questa modifica riduce l'ingombro di partenza di circa un pedata (21 cm). I moduli di quarto di giro intermedi e l'arrivo non cambiano - sono fissi nella concezione.
Il vano scala di 160x160 cm è facile da realizzare in un solaio in calcestruzzo?
Un vano scala di 160x160 cm in un solaio in calcestruzzo richiede l'intervento di un professionista. È necessario verificare la presenza di armature (ferratura) nella zona di taglio e prevedere il trasferimento di carico adeguato. In un solaio in legno, la realizzazione è più accessibile ma richiede comunque il consolidamento delle travi di riva. Prevedere un budget da 500 a 1500 euro per i lavori di vano scala a seconda del tipo di struttura.
Quale finitura consigliate per una DQT in abete molto frequentata?
Per una DQT in abete ad alto traffico, il vetrificatore aqua-poliuretano in 3 mani è la miglior protezione. I gradini bilanciati delle svolte subiscono un'usura asimmetrica - rinforzare la finitura su queste zone. Applicare una prima mano di fondo tappo-pori specifico per abete per evitare l'assorbimento eccessivo del vetrificatore. Rinnovare ogni 4-5 anni sui gradini di svolta.
Si può installare il GOULES 160x160 da soli?
No. Sono necessarie almeno due persone. I limonieri in abete, sebbene meno pesanti di quelli in faggio o rovere, sono lunghi e ingombranti. Il modulo di quarto di giro deve essere tenuto in posizione mentre i limonieri vengono fissati - questa operazione richiede due paia di mani. Prevedere una giornata intera per due persone con esperienza nel bricolage intermedio.
Perché la pedata è di 21 cm su una DQT di 160x160 cm?
Su una DQT, la pedata è calcolata in base alla configurazione geometrica delle due svolte e allo spazio disponibile. Con un vano scala di 160x160 cm e 14 gradini, la formula dà una pedata di 21 cm - superiore allo Standard (19 cm) perché la configurazione DQT consente una distribuzione diversa delle alzate e delle pedate tra le rampe dritte e i moduli di svolta.
Le nostre scale complementari
ROCLES 160x160 - Doppio QG faggio rovere, stesso vano scala, più durevole
- Larghezza (cm)
- 80
- Essenza/materiale
- Abete
- Numero di gradini
- 15
- Section (mm)
- 220*30
- Ingombro (cm)
- 165*160.4*165
- Apertura nel solaio consigliata (cm)
- 165 x 160.4
- Altezza da pavimento a pavimento (cm)
- 285
- Alzata (cm)
- 19
- Gamma
- Standard
- Pedata (cm)
- 21
- Peso del collo (kg)
- 70,000000
- Spessore del gradino (cm)
- 3
- Tipo di scala
- Doppio quarto di giro
Non ci sono domande dei clienti per il momento.
Potrebbe piacerti anche
Spedizione entro 10 giorni quando il prodotto è disponibile in stock *.
* Salvo prodotti su misura
Spedizione entro 6-8 settimane per i prodotti personalizzati e su misura.
Possibilità di pagamento in 1 rata o 3 rate senza spese. Bonifico bancario, assegno o Paypal
Soddisfatti o rimborsati se la restituzione avviene entro 14 giorni di calendario (domeniche e giorni festivi inclusi) dalla consegna.
8 altri prodotti nella stessa categoria:
Non ci sono domande dei clienti per il momento.





